| Sign In | Join Free | My insurersguide.com |
|
Brand Name : POOYERT
Model Number : 400/450/500*90*51
Certification : ISO9001
Place of Origin : Shanghai,China
MOQ : 2PCS
Payment Terms : L/C, T/T, Western Union, MoneyGram
Supply Ability : 5000 Pieces/Month
Packaging Details : 10-15days
Material : Rubber and Steel
Width : 500mm
Pitch Length : 90mm
Links : 51
Total Length : 4590mm
Weight : 148kg
Warranty : 12months
WORLD RUILONG(4LZ-5.0E) RUBBER TRACK FOR COMBINE HARVESTER 500*90*51
rubber track
1. Type of rubber tracks:
1). Continuous rubber track
2). Conventional type or interchangeable type rubber track
3). Warranty: guarantee one year under normal use
4). Application: mini excavator, bulldozer, dumper, crawler loader, crawler crane, crawler carrier vehicle, agriculture machinery, paver and other special machine
2. The feature of rubber tracks:
(1). Less round damage
Rubber tracks cause less damage to roads than steel tracks, and less rutting of soft ground than either steel tracks of wheel products.
(2). Low noise
A benefit to equipment operating in congested areas, rubber track products less noise than steel tracks.
(3). High speed
Rubber track permit machines to travel at a higher speed than steel tracks.
(4). Less vibration
Rubber tracks insulate machine and operator from vibration, extending the machine’s lifetime and lowering operate fatigue.
(5). Low ground pressure
The ground pressure of rubber tracks equipped machinery can be fairly low, about 0.14-2.30 kg/ cmm , a major reason for its use on the wet and soft terrain .
(6). Superior traction
The added traction of rubber, track vehicles permits them to pull twice the load of wheel vehicles of the sane weight.
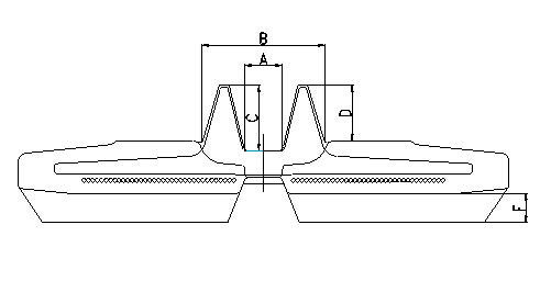
3.Technical parameters about the rubber track

4. Parameter
| AGRICULTURE RUBBER TRACK | ||
| WIDTH/PITCH/LINK | WIDTH/PITCH/LINK | WIDTH/PITCH/LINK |
| 180/84W/27 | 400/90DC/47 | C400/90/50 |
| 180/84W/28 | 400/90DC/48 | D400/90/46 |
| 180/84W/29 | 400/90P/43 | D400/90/48 |
| 180/84W/30 | 425/90/42 | D400/90/50 |
| 280/79/31 | 450/90/47 | D400/90/50 |
| 280/79/32 | 450/90/50 | D450/90/48 |
| 280/79/34 | 450/90/56 | D450/90/51 |
| 280/79/35 | 450/90BS/60 | D450/90G/51 |
| 280/79/37 | 450/90BS/61 | D500/90/53 |
| 280/79/38 | 450/90DC/51 | D500/90/56 |
| 280/90/38 | 450/90N/56 | D500/90P/56 |
| 280/90/46 | 500/100/57 | D550/90P/56 |
| 300/84/34 | 500/90/51 | D550/90P/56 |
| 300/84YCL/44 | 500/90AW/51 | DC450/90/53 |
| 350/90/42 | 500/90AW/54 | DC500/90/51 |
| 350/90/46 | 500/90DC/53 | DC500/90/55 |
| 350/90/48 | 575/93/58 | DC500/90/56 |
| 350/90/60 | 600/90/54 | DC550/90/56 |
| 400/84YCL/44 | C350/90/40 | DC550/90/58 |
| 400/90/43 | C350/90H/48 | YM500/90/51 |
| 400/90/43 | C400/90/46 | YM500/90/52 |

5. Customers' order about the rubber track


In order to offer the detail quotation to you timely, could you please kindly tell us the following QUESTIONS?
1. Which part is you need, the part name?
2. The model and the sizes for the part you need? normally we could confirm the product and find out the price according to the model. or if not, we would like to talk the details with you.
3. The quantity you need? more quantity more cheaper.
4. The way to transportation and the receipt address?
kindly note:
Small order is accepted, for some items, 1 piece is possible.
As to normal models, we have the goods in stock.
Standard package.
With over 10 years experience in the construction equipment spare parts business, we understand your need for
urgent and efficient delivery of your spare parts and committed to providing you with prompt and quality service.
Any questions, please feel free to contact us at any time. we will do our best job for you.
|
|
World Ruilong 4lz - 5.0e Agricultural Rubber Tracks For Combine Harvester Images |